為了防止別人惡意搶注相同、近似商標,很多企業在商標注冊上“山寨”了自己。
近日,有網絡消息稱,大白兔為了保護自己的商標,注冊了10幾個近似商標:有大灰兔、大黑兔、大花兔、小白兔、金兔、銀兔……。有人對此評論道,可是他們(備注:“大白兔”奶糖商標所有者上海冠生園食品有限公司)還是疏忽了小貝兔、大日兔、大臼兔、太白兔、大白免。

大白兔”奶糖商標所有者上海冠生園注冊的部分防御性商標。本文圖片來源:國家工商行政管理總局商標局網站
采取類似商標保護預防措施的,不只是大白兔。
經過梳理發現,阿里巴巴、星巴克、小米、老干媽等知名公司注冊了大量諸如“阿里媽媽”、“新巴克”、“大米”、“老干爹”等商標,這些商標名往往都進行了多類別的注冊。
很多人會將前述商標誤認為是“山寨商標”。所謂“山寨商標”,有不少是企業自己注冊的防御性商標,是企業為了防止他人注冊和使用。此舉是企業為了避免“山寨商標”給自己的主品牌造成干擾,同時也為了避免消費者混淆主品牌。
企業紛紛注冊“山寨商標”
為了避免他人惡意搶注,企業紛紛先下手為強,注冊了大量防御性商標。
企業注冊防御性商標,大致可分為兩種情況,一是多個類別的商品申請注冊同一商標,二是同一種商品或者類似商品注冊相同或者近似的商標。
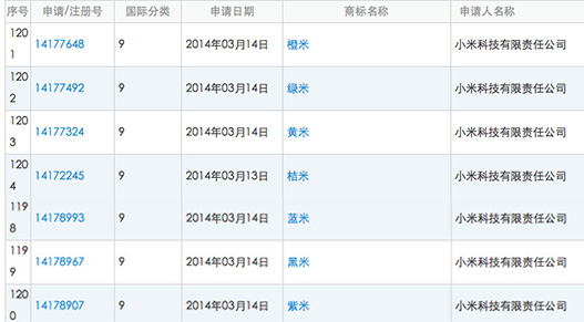
小米科技有限責任公司注冊了“大米”、“藍米”、“黑米”、“紫米”、“橙米”、“綠米”、“黃米”、“桔米”等商標。

小米公司注冊的部分防御性商標。
阿里巴巴集團控股有限公司注冊了“阿里爸爸;ALIPAPA”、“阿里媽媽”、“阿里媽媽;ALIMAMA.COM”、“阿里姐姐”、“阿里妹妹”、“阿里姑姑”、“阿里叔叔”、“阿里哥哥”、“阿里弟弟”等商標。

阿里巴巴集團注冊的部分防御性商標。
和阿里巴巴類似,公眾熟知的油制辣椒品牌“老干媽”所有者貴陽南明老干媽風味食品有限責任公司,還注冊了“老干爹”、“老干娘”、“老干爸”、“干兒子”、“干兒女”、“老姨媽”等商標。

貴陽“老干媽”注冊的部分防御性商標。
星巴克公司在防御性商標的注冊上可謂腦洞大開,僅在商標國際分類“29”類之下,就注冊了“索巴克”、“辛巴克”、“新巴克”、“興巴克”、“星巴特”等幾十個商標。

星巴克公司注冊的部分防御性商標。
《中華人民共和國商標法》第二十二條規定,商標注冊申請人可以通過一份申請就多個類別的商品申請注冊同一商標。
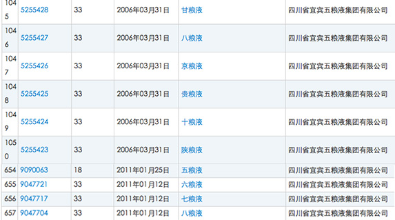
截至發稿,在國家工商總局商標局的商標綜合查詢系統里,可以查到四川省宜賓五糧液集團有限公司共計持有2064個商標,除了眾人所知的“五糧液”,該公司還注冊了“六糧液”、“七糧液”、“八糧液”等。在商標國際分類“33”類之下,該公司還注冊了“五糧液酒圣”、“五糧液安樂泉”、“五糧液奮進塔”、“五糧液誠信碑”、“五糧液芝麻開花節節高”、“五糧液參天大樹”等商標。此外,該公司還注冊了以各省簡稱為前綴的“五糧液”變種,比如“甘糧液”、“京糧液”、“貴糧液”、“陜糧液”等。

宜賓五糧液集團注冊的部分防御性商標。
《商標審查標準》對商標相同、近似的審查作了詳細規定,比如,“中文商標由三個或者三個以上漢字構成,僅個別漢字不同,整體無含義或者含義無明顯區別,易使相關公眾對商品或者服務的來源產生混淆的,判定為近似商標。”前述星巴克公司注冊大量“山寨商標”,應屬此種情況。
專家:注冊“山寨商標”短期內是企業的現實選擇
企業大量注冊“山寨商標”也有弊端,它可能造成商標資源的浪費、增加企業負擔。企業注冊的商標如果不去使用,就會形成俗稱的“僵尸商標”。
趙占領告訴澎湃新聞,企業注冊、維護商標的成本并不低,商標到期了還需要繳費續展。
趙占領接著表示,短期內,注冊“山寨商標”對大企業而言是一種現實選擇,盡管可能會增加一些成本,但這些大企業需要更全面地去保護商標,這是企業的商標保護戰略的一種體現。
知名企業在“山寨商標”上遭遇的麻煩不勝枚舉。
貴陽“老干媽”多次開打商標戰。因貴陽“陶華碧老干媽”、湖南“劉湘球老干媽”的商標幾乎同時注冊,包裝也十分接近,雙方因此展開5年的商標爭奪戰。2001年,北京高院做出判決,貴陽“老干媽”勝訴,湖南“老干媽”停止在風味豆豉產品上使用“老干媽”商品名稱,并停止使用與貴陽“老干媽”風味豆豉瓶貼近似的瓶貼,賠償貴陽“老干媽”經濟損失40萬元。
2002年,貴陽“老干媽”與貴州“老干爹”之間發生商標糾紛。據《法制周末》報道,在一份遞交給貴州省政府的緊急報告中稱:“老干爹”借助“老干媽”之名在市場上大肆銷售。在各地市場及超市中,“老干爹”有意與“老干媽”擺放一處銷售,甚至制造“親戚關系”,其目的在于混淆品牌,誤導消費者。
麥當勞公司在商標保護上可謂錙銖必較。因認為國家工商行政管理總局商標評審委員會(以下簡稱“商評委”)通過的配有紅底黃字的“W”標志以及“萬德福onderful”商標侵犯了自己的商標權,麥當勞公司曾將商評委告上法庭。2003年1月,麥當勞公司向國家工商行政管理總局商標局提交了商標異議書,以W商標與麥當勞的“金色拱門圖形”(M商標)系列商標構成近似商標,極易導致消費者誤認和混淆,要求國家工商行政管理總局商標局撤銷W商標。在商標異議被駁回后,麥當勞公司又向商評委提出了復議。
騰訊也在商標上“吃過虧”。2014年,北京市高級人民法院就騰訊訴商評委一案作出終審判決。法院支持商評委此前做出的裁定,判令騰訊撤銷汽車等商品的“QQ”注冊商標。法院認為汽車商品和通訊服務差距較大,二者不構成同一種或者類似商品或服務。即便是防御性商標,也應當對奇瑞公司享有的在先權利進行避讓。
趙占領認為,企業間“山寨商標”爭端不斷,主要是商評委在商標審查過程中,在近似商標的判斷上具有很強的主觀性。
“從嚴從快審理大規模惡意搶注商標案件”
有的“山寨商標”是企業的防御性商標,有的“山寨商標”屬于惡意搶注的商標。
國家工商總局對惡意搶注商標的行為已有諸多規定和表態。
《中華人民共和國商標法》第三十二條規定:申請商標注冊不得損害他人現有的在先權利,也不得以不正當手段搶先注冊他人已經使用并有一定影響的商標。
2017年5月22日,國家工商總局發布《工商總局關于深入實施商標品牌戰略推進中國品牌建設的意見》稱,以誠實信用為原則,完善確權機制,在審查、異議、評審等環節加大馳名商標的保護力度。從嚴從快審理大規模惡意搶注商標案件,有效制止惡意搶注行為。探索完善商標與字號、域名等權利沖突的解決機制。
娃哈哈集團董事長宗慶后曾幾度在“兩會”上提出修改商標法的議案,他認為,應立法禁止現有的商標被其他類別的企業注冊。
2017年3月10日,國家工商總局局長張茅在“兩會”上表示,有一些搶注商標它本身沒有產品,卻注冊一系列商標,對市場秩序是一個擾亂。它以盈利為目的,我們對這種惡意注冊的行為,在審查時發現后,不予注冊。已經注冊的,宣告無效。張茅舉了特斯拉的例子,他說特斯拉剛進入中國市場,它的商標就被搶注了,后來經過各種程序基本上解決了。”
趙占領認為,在國家商標局對商標審查越來越嚴格,“山寨商標”注冊越來越困難的情況下,大企業可能會減少防御性商標的注冊,更多地把商標保護的重點放到其他企業已注冊的相同或相似商標上。“一旦出現惡意搶注,企業即可通過法律程序,比如提出異議。對于已經惡意注冊的商標,可以提出申請撤銷。”
1999年-2001年:
德州供銷學校99級計算機系 【德州財貿經濟學校,現合并為 德州職業技術學院】2001年-2006年:
這段時間先后從事過計算機老師、CAD制圖預算、電腦售后維修服務等多種工作。2006年-2010年:
自學網頁制作技術,2006年9月任職于德州安然資訊互聯網事業部,從事網站制作SEO優化推廣。2010年10月:創辦 愷策網優,于2012年注冊營業執照
2014年11月:創辦 易搜網絡,實現網絡品牌多元發展!